O grande fabricante de automóveis publicou uma patente de motor a dois tempos que poderia ressuscitar o formato

O pedido de patente, registado com o número US 2025/0354528 A1, foi apresentado no Escritório de Patentes e Marcas dos Estados Unidos (USPTO) em 20 de maio de 2024, mas apenas agora publicado, a 20 de novembro de 2025, listando Alan G. Holmes, de Clarkston, Michigan, como o inventor.
O que a General Motors pretende fazer com esta patente, uma vez concluída, permanece um mistério. Se fizéssemos uma sondagem a perguntar se as pessoas preferem motores a dois ou quatro tempos, muitos votariam ainda pelo tradicional motor a dois tempos – pela sua simplicidade, familiaridade e facilidade de aplicação.

Motor 500 2T de uma Yamaha de Grande Prémio dos anos 80
Há 50 anos, o motor a 2T estava em tudo, desde pequenos carros a motos, barcos, ciclomotores, geradores, máquinas agrícolas e, claro, nas espantosas motos de Grande Prémio do Mundial, como a Honda de Randy Mamola na foto de abertura. Depois, veio o ‘lobby’ da ecologia, os ‘Euro’ Isto e aquilo, e a simplicidade do motor a 2T foi uma das vítimas. Mas, se pudesse regressar numa versão mais limpa e económica, seria aceite num ápice… E parece que as empresas de engenharia compreendem isso, uma vez que nos bombardeiam ocasionalmente com ideias sobre o assunto.

Este novo motor, no entanto, não vem de uma qualquer empresa de engenharia de alta tecnologia de que nunca se ouviu falar.
Vem de uma das 5 maiores fabricantes de automóveis do planeta, a americana General Motors. Se isso lhes diz pouco, experimentem Opel, Chevrolet, Cadillac, Pontiac, Buick, GMC, Vauxhall ou Hummer… E embora a GM provavelmente não tenha interesse em colocar um tal motor num veículo com menos de quatro rodas, é, pelo menos, curioso ver que uma empresa tão grande como esta está a olhar para algo para além da eletrificação da moda e do hidrogénio.
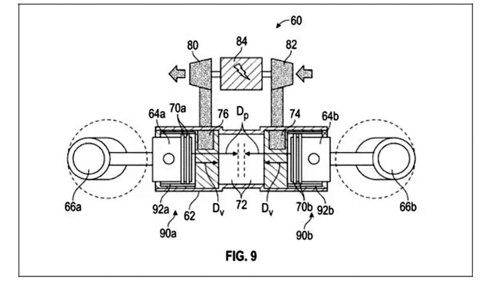
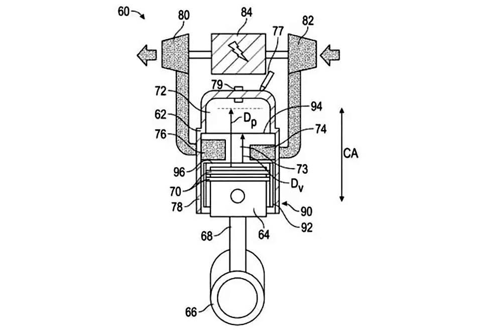
A patente procura resolver alguns dos problemas que tornam os motores a dois tempos opções menos viáveis no mundo moderno: eficiência, emissões poluentes e durabilidade mecânica. Ao contrário de um motor tradicional a dois tempos, que possui transfers fixos no cilindro acionados por uma válvula de palheta ou rotativa, se não mesmo só pelo movimento do pistão, o projeto da GM centra-se numa camisa móvel que se encontra entre o pistão e a parede do cilindro.
A camisa move-se em coordenação com o pistão, permitindo a entrada de ar no cilindro, vedando para a combustão antes de se abrir para permitir a saída dos gases. De acordo com a patente, o movimento da camisa é facilitado por um atuador e, para auxiliar o funcionamento suave do motor e reduzir o atrito e o desgaste interno, a camisa também auxilia os anéis do pistão na passagem pela válvula.

Segundo a patente, a camisa “transporta” os anéis através da porta, ajudando a reduzir o risco de o anel tocar na porta e provocar danos e desgaste, um dos grandes problemas conhecido dos afinadores e preparadores de 2T de competição.
O que ainda não é claro é se o sistema pode ser utilizado para adicionar uma espécie de distribuição variável ao motor a dois tempos. Não é preciso muita imaginação para pensar na camisa a abrir os transfers em quantidades variáveis em determinados pontos da gama de rotações, otimizando a abertura e fecho das válvulas para uma determinada rotação.
Agora, precisamos de encarar esta patente com cautela. Os supostos salvadores dos motores a dois tempos surgem e desaparecem, e com honrosas exceções como o Ditech Australiano de há alguns anos, que a Aprilia utilizou, quase nenhum deles passa da fase inicial de conceção e desenvolvimento técnico.
É entusiasmante, no entanto, ver uma empresa da dimensão da GM a assumir a responsabilidade, e se começarem a equipar carros com motores a dois tempos nos próximos anos, esperamos que alguns fabricantes de motos sigam o exemplo, quem sabe, em Portugal, aonde especialistas na tecnologia ainda existem em abundância!
















