O funcionamento não é muito claro, mas requer a presença de motores independentes, um para a roda esquerda e outro para a direita, capazes de intervir na inclinação do veículo.
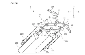
A Yamaha está supostamente a trabalhar numa nova versão da Niken GT, a sua moto revolucionária com duas rodas dianteiras e garfos de duas pernas, de acordo com um pedido apresentado ao Escritório Europeu de Patentes. O funcionamento não é totalmente claro, mas envolve a presença de motores independentes , um para a roda esquerda e outro para a direita, capazes de intervir na inclinação do veículo. Eles podem ser acionados tanto pelo comando do condutor quanto automaticamente com base nas indicações de alguns sensores integrados na moto; entre eles um sensor de inclinação, um sensor de velocidade do veículo e um sensor de velocidade angular.

Ao combinar os sinais enviados por todos os sensores, afirma a patente, o sistema deve evitar que o veículo caia, especialmente se estiver a fazer curvas em velocidade muito alta, ou pelo menos aumentar a sua estabilidade. Sem dúvida, uma meta interessante, mas que provavelmente exigirá muito trabalho de desenvolvimento, porque há muitos fatores a serem levados em consideração.
A patente também se refere à detecção do risco de colisão frontal, hipótese já abordada por inúmeros aparelhos em produção em série, mas não está claro qual a particularidade da solução da Yamaha.
Uma segunda patente pouco clara
Separadamente, outra patente também foi registada na Europa para o conceito de um veículo basculante de múltiplas rodas, e a descrição contém esta frase enigmática: “O veículo basculante não se limita a uma moto e pode ser, por exemplo, um veículo motorizado de três rodas ou similar. O veículo motorizado de três rodas pode incluir duas rodas dianteiras e uma roda traseira ou, alternativamente, pode incluir uma roda dianteira e duas rodas traseiras.”
Mesmo neste caso não está claro do que se trata, o certo é que a empresa Iwata está a trabalhar para aumentar a segurança, e isso de qualquer forma é uma boa notícia. Teremos que esperar um pouco mais para entender como o trabalho vai se desenvolver.




















